资金流信用信息共享平台最新产品及市场活动
发布时间:2025-08-04 17:35:09
一、产品介绍
中小微企业是推动创新、促进就业、改善民生的重要力量,是我国经济社会高质量发展的重要基础,也是实现中国式现代化的生力军。中小微企业普遍缺乏连续、稳定的高质量信用信息,是制约金融机构提供优质金融服务的重要因素。
在此背景下,优创资金流信用信息共享平台应运而生,利用数字化手段打破信息孤岛,推动资金流信用信息的共享,帮助金融机构更全面地了解中小微企业的资金状况,实现资金流信用信息的高效管理和应用。
二、系统架构图

三、核心功能
资金账号绑定:支持信息主体(中小微企业、个体工商户)绑定资金账号,与信息提供机构建立委托关系。
授权管理:支持信息使用机构发起查询授权申请,信息主体通过平台确认授权,平台支持授权申请的管理和撤销。
资金流信用信息查询:支持信息使用机构进行单笔查询,查询结果留档并支持本地查询。
产品数据转发:信息提供机构将加工完成的资金流信用信息产品发送至共享平台,平台记录相关数据。
数据质量管理:支持接入机构对接收到的资金流信用信息产品进行数据校验,并将结果反馈至共享平台。
留言工单管理:支持接入机构处理留言工单,并将处理结果反馈共享平台,信息主体可查阅进度和结果。
四、产品亮点
低码平台支撑:丰富的配置化和便捷的二次开发,稳定可靠的分布式服务架构,完善的运维监控。
数据分析扩展:资金链健康度评估,识别现金流缺口风险;交易网络穿透式监测,构建资金流转图谱;趋势预警建模,预判经营风险与融资需求。
系统架构合理:接口层提供行内系统交互,业务层处理核心业务逻辑和数据加工,对接层负责与征信中心对接。
支持国密信创:实现国密算法的同时具有信创的认证证书,实现国密和信创要求的全覆盖。
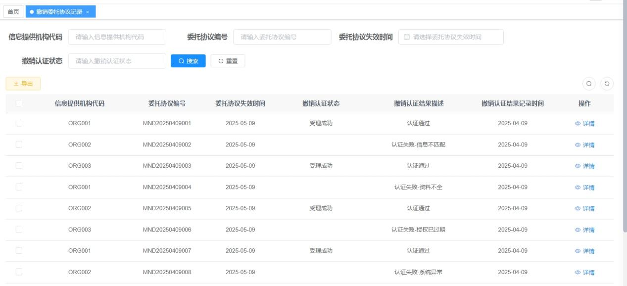
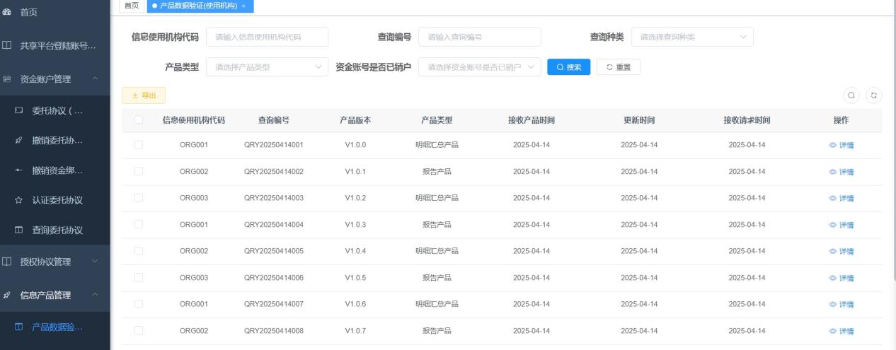
五、产品截图

