化解“房票安置”难题,优创带您一招搞定!新闻中心

2015-2017年,房产市场开始了新一波的轮动,通过货币化安置的方式,在助力房市复兴上发挥了巨大作用。
近年来,疫情波动频繁,经济发展速度放缓,房产交易量持续走低,房产市场活力锐减,郑州、南京、宁波等30城纷纷探索实施“房票安置”的方式,以期拉动市场需求,加快推进房地产行业的复苏。
“房票安置”促进了国有土地上住宅房屋征收补偿安置方式的完善,满足了被征收人多元化的安置需求,缩短了临时安置过渡时间,提高了房屋征收安置工作效率!
实现居住环境改善、增加了拆迁户的便利性、促进购房者的购买力和福利、减少老百姓购房的资金压力,便利市民尤其是被限购的市民在失去任何地块选择适宜的住房。
加快项目去库存、激发企业进一步开发投资的信心、实现资金回流、恢复市场信心,推进开发商加大投资力度。
进一步加深银行与地方政府的黏性和合作深度、促进策划整合和启动实施一批新项目,促进金融创新服务民生、服务经济发展。
减少拆迁安置的财政补偿压力,进一步优化楼市的区域结构,加快新型城镇化建设,有利于激活楼市、刺激消费。
此前的房票管理一直是通过传统人工的方式来推进,所涉及的手续十分繁琐。同时,房地产企业在接收房票过程中验证房票真伪、确认房票余额等工作量亦不轻。
后续房地产企业在与征收部门进行房票购房集中结算工作时,还会涉及大量资金,必须保证结算资金准确无误,但若选择集中时间处理,则会引发工作压力大,录入出错率高等问题。
各银行办理点作为重要的中间处理平台,在优化后台交易管理服务,提升用户体验上仍然有很大的成长空间。
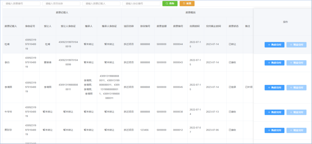
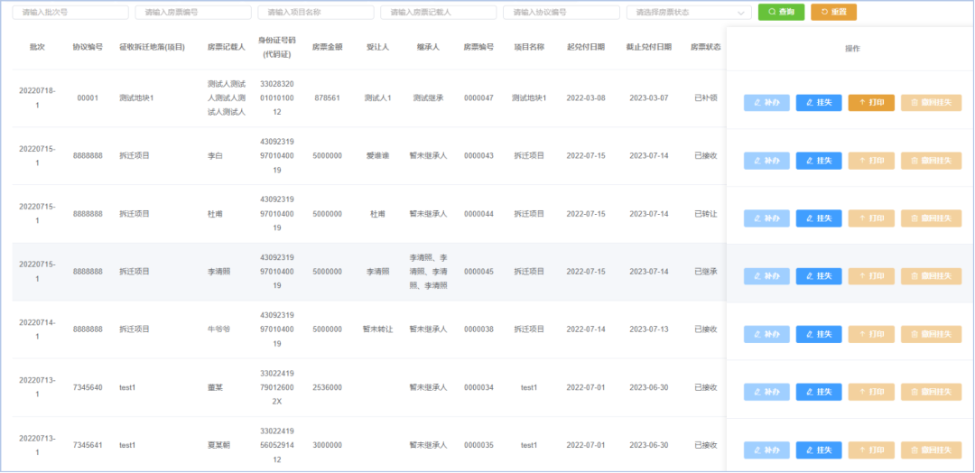
优创自研的安置房票处置系统将提供如下三方面的解决方案:
管房:多房源汇集,扁平化可视后台展示,帮助用户分担选房压力
管人:多层级细化,人性化搭建管理后台,分拣行员的后续录入工作
管资产:多保障交易核对,层层把控资金流动去向,企业房主更安心
    优创结合政策新规,建设开发安置房票处置系统,以完善的业务操作规则,实现与房产交易监管服务平台业务数据的互联互通。
结合最新房票安置需求,优创整合后台架构,以打造清晰的操作界面为导向,实现系统后台多端路径交汇对接,优化全套业务办理流程,跟进银行后续办理工作。

以图文并茂、方便快捷为建设宗旨,将安置房源的地理位置、项目全景展示等房源项目信息在小程序中体现出来,房票持有人足不出户即可了解安置房源信息,并进行线上认购。

加强网签数据与房票、安置房源数据的互联互通,实现数据实时共享,解决信息重复录入等问题,进一步完善监管,实现房票支付购房款的特定处理,保障购房资金安全。

基于对交易流程的综合考量,将签署、扫描、上传、现场递交材料办理等业务的线上化,全方位化解安置房配置疑难问题,实现房票业务全程网办、"不出一趟门”。

安置房票处置系统的建立,可以及时反馈安置房源的使用情况和变化,为政府部门制定相关政策和决策提供重要的支持和参考,并增强了政府决策的透明度和公开性。对拉动市场需求、加快推进房地产行业复苏起到积极作用。
审核|常 乐
编辑|朱慧凯
今日头条|浙江优创信息技术
公司官网|http://www.cn-unitech.com/
