AI内控合规合同智能审查系统AI及应用
一、产品介绍
随着金融行业监管政策日趋严格、合规要求不断细化,传统依赖人工的内控合规与合同审查模式逐渐显露短板:海量政策文件检索困难、合同条款审核效率低下、风险点识别易受人为疏漏影响,难以满足金融机构对精准合规、高效管理的需求。在此背景下,AI内控合规合同智能审查系统应运而生,以人工智能技术为核心,为金融机构构建全流程智能合规管理体系。
优创AI内控合规合同智能审查系统是专为金融机构打造的AI驱动型合规管理工具,集成知识库管理、智能问答、合同合规AI审查等核心模块,通过大语言模型与结构化知识库的深度融合,实现合规信息高效整合、合同风险自动识别、合规咨询实时响应,全方位助力金融机构强化内控体系、降低操作风险,提升合规管理的智能化水平。
二、应用场景
系统深度适配金融机构的全流程合规管理需求,核心应用场景包括:
ü 合同全生命周期管理:合规审查关键要素、标注风险点、生成标准化评审报告。
ü 合规政策管理:集中存储分类政策法规与内部规章,支持快速检索更新及合规溯源。
ü 实时合规咨询:即时解答内控合规、关联交易等问题,提升业务决策效率。
ü 内控体系维护:以智能文档管理与风险监测,支撑内控流程优化及操作风险防控。
三、核心功能
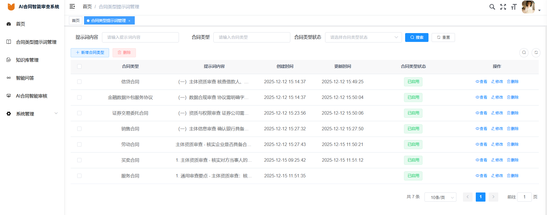
1、知识库管理:智能分类整合多源合规文档(政策法规、合同模板等),支持高效检索与安全维护,确保合规依据精准可溯。
2、智能问答平台:基于知识库与大语言模型,实时响应合规咨询,快速解答内控、关联交易等专业问题。
3、合同合规AI审查:自动解析合同条款,精准检索合规风险点,生成标准化评审报告及优化建议。
四、产品优势
1、高效提效:合同审查、政策检索及咨询响应速度远超人工,减少业务等待时间。
2、精准风控:AI技术降低人工疏漏,提升风险识别准确率。
3、成本优化:减少人工投入,降低人力与管理成本。
4、全面合规:覆盖合同、政策、内控等全场景,确保合规无死角。
5、安全可靠:保障敏感合规数据存储与使用安全,符合金融行业要求。
五、产品截图

